VERLINDE SR1-20M-4M
Palan électrique charge 250kg, chaîne 20m, vitesse 4m/mn











Descriptions détaillées
Avec un nouveau design totalement ergonomique, STAGEMAKER SR est le seul modèle du marché à être équipé en standard d’un double frein, de poignées de manipulation rétractables et de zones de protection caoutchouté.
STAGEMAKER SR s’intègre également harmonieusement dans toutes les installations techniques et propose les meilleurs niveaux de sécurité et de productivité.
Perfect Push
- Nouveau concept breveté “Perfect Push®”, la noix de levage à 5 alvéoles est également munie de 5 dents intermédiaires d’entraînement de la chaîne de levage.
- Cette innovation permet un meilleur guidage de la chaîne afin d’éviter tout risque de bourrage.
Chain Flux
- CHAINFlux® MKII. Une forme spéciale, permet un écoulement horizontal beaucoup plus fluide de la chaîne en sortie de noix de levage.
- En aluminium haute résistance.
- Ce matériau offre un coefficient de frottement remarquable et facilite ainsi le passage de la chaîne lors de l’éjection. Ce système diminue fortement les risques de “bourrage” du à la torsion de la chaîne et optimise son introduction dans le bac.
- Drain pour l’évacuation de l’eau au niveau de la noix de levage.
- Absorbeur de chocs, en caoutchouc, situés aux quatre angles du moteur, ils offrent une protection accrue de votre matériel contre les coups ou chutes. De plus ces zones tampons sont également des protections pour l’utilisateur lors de la manipulation du moteur.
- Du à la conception du moteur et à son groupe d’utilisation élevé, la vitesse de déplacement reste constante dans toutes les configurations (avec ou sans charge).
- Composants électriques prévus pour une connectivité “Plug & Play”.
+ de sécurité
- Double frein de levage en standard pour une meilleure sécurité d’utilisation et une plus grande évolutivité de votre investissement en fonction des normes.
- Nouveau concept de limiteur de couple. Le positionnement de l’embrayage dans le réducteur assure le maintien de la charge par le frein quelles que soient les conditions de fonctionnement de l’appareil.
- Fin de course électrique en standard (version B).
- Les positions maximales hautes et basses du crochet de levage sont sécurisées par les fins de course électriques.
- Protection IP55 de l’ensemble du moteur.
- Chaîne de levage noire, electrozingué, de fabrication spéciale pour VERLINDE.
- Protection thermique interne du moteur (version B).
+ de confort d’utilisation
- Niveau sonore de fonctionnement réduit à 60 dBA (certificat de test disponible).
- Utilisation en palan grimpeur en standard et en suspension industrielle par simple déplacement du bac à chaîne.
- Crochets supérieur et inférieur rotatifs.
- Outil de chaînage délivré en standard avec le moteur.
- Le bac à chaîne grande capacité et haute résistance en toile noire, 1100 deniers, est démontable et réversible
+ d’économie
- Les opérations de maintenance seront désormais plus simples, plus rapides, plus économiques :
- Accès aisé au réglage du limiteur de couple.
- Accès aisé aux composants électriques (Plug & Play) et au fusible.
- Nouveau concept de moteur facilement démontable.
- Accès aisé aux contrôles du frein.
+ d’ergonomie
- La forme ovale du moteur permet un écoulement naturel de la chaîne en cas d’accumulation de maillons sur la partie supérieure du palan.
- Le design aux lignes totalement fluides et épurées souligne les signes visibles de robustesse, de technologie embarquée et renforce ce sentiment de sécurité induit. Ces nouvelles lignes plus furtive offrent au STAGEMAKER SR une meilleure intégration dans son environnement d’utilisation (éclairages, éléments de sonorisation,...).
- Le corps du palan est protégé par une peinture poudre époxy noire de 70μm, apte à fonctionner dans les environnements extrêmes (-20C° à +50 C°).
- Crochet de levage avec zone de préhension ergonomique (zone de préhensions caoutchoutées).
- Ce palan est conforme aux réglementations en matière d’écologie (compatible RohS).
- Nouveau concept de poignées de manutention ergonomiques (surfaces de préhensions caoutchoutées). 2 poignées repliables ont été intégré au corps de palan dès sa conception.
Informations
- Référence : SR1-20M-4M
- Codart : SR1-20M-4M
- Télécharger nos catalogues PDF
Propriétés techniques
- Dimensions en flight-case (X4) : 87 x 54,5 x 55 cm
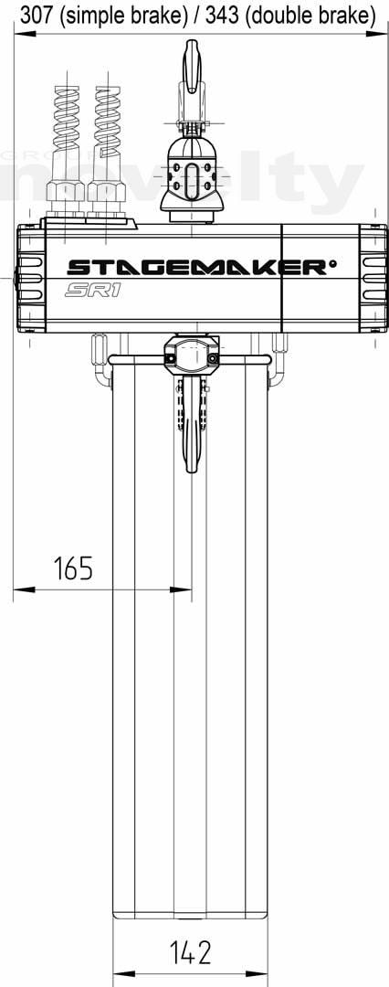
- Dimensions unitaires : 307 x 153 x 365 mm (entraxe crochet)
- Poids en flight-case (X4) : 115 kg
- Poids unitaire : 10,5 kg (sans la chaîne)
- Poids unitaire : 19,4 kg (avec chaîne 20m)
Documents à télécharger
Fiche technique : SR1
Manuel technique : SR1
Fichiers : Brochure commerciale
Certificat de conformité : SR1
Catalogue VERLINDE














